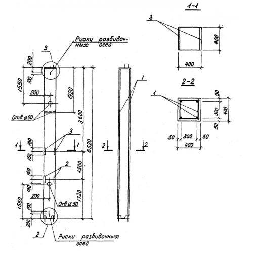
К

Чертеж изделия:
Характеристики изделия:
ПараметрЗначение
длина6520 мм
ширина400 мм
высота400 мм
вес2600 кг
серияТП 901-5-38.87

К Колонны по проекту ТП 901-5-38.87.