ФБС 9.3.6

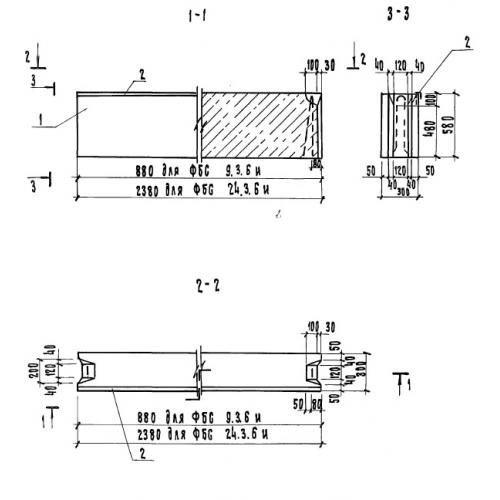
Чертеж изделия:
Характеристики изделия:
ПараметрЗначение
длина880 мм
ширина300 мм
высота580 мм
вес350 кг
серияTП 501-7-014.91

ФБС 9.3.6 Фундаментные блоки стеновые по проекту TП 501-7-014.91.