ПСТ 57.21.3.5

Чертеж изделия:
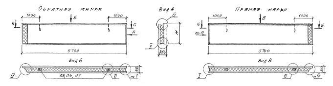
Характеристики изделия:
ПараметрЗначение
длина5700 мм
ширина350 мм
высота2085 мм
масса4750 кг
нормативный документШифр М25.13/98

ПСТ 57.21.3.5 Панели стеновые трёхслойные по Шифру М25.13/98.