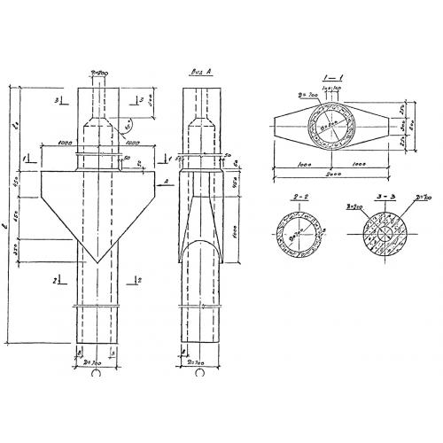
КС 120

Чертеж изделия:
Характеристики изделия:
ПараметрЗначение
длина13200 мм
ширина2000 мм
высота800 мм
вес8400 кг
ШифрЭ 1708/1

КС 120 Колонны средние по Шифру Э 1708/1.