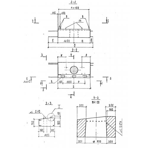
Р 1

Чертеж изделия:
Характеристики изделия:
ПараметрЗначение
длина5350 мм
ширина520 мм
высота600 мм
вес2690 кг
серияИИ-63

Р 1 Ригель по серии ИИ-63.