ФО 8.8.6

Чертеж изделия:
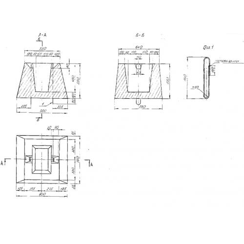
Характеристики изделия:
ПараметрЗначение
длина800 мм
ширина750 мм
высота550 мм
масса533 кг
нормативный документСерия Б 3.017.1-4.03

ФО 8.6.6  Фундаменты  оград по Серии Б 3.017.1-4.03.