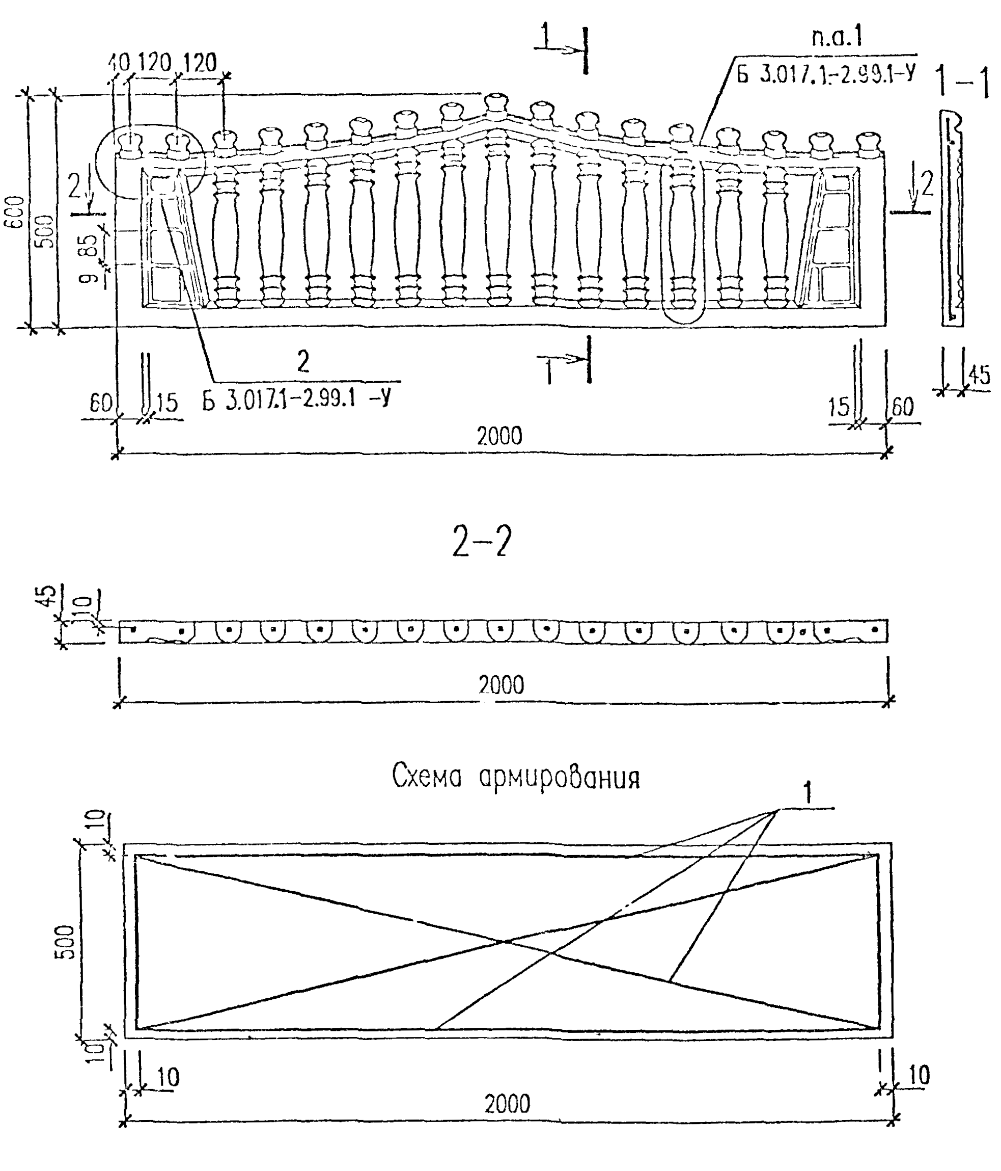
1-3П 200.60.5-М
Характеристики изделия:
| Параметр | Значение |
|---|---|
| Длина L | 2000 мм |
| Ширина В | 45 мм |
| Высота Н | 600 мм |
| Вес | 53 кг |
| Серия | Б3.017.1-2.99 |
| Норма погрузки на машину (20тн) | 370 шт |
| Вагонная норма погрузки | - |
Цена:
Рассчитать стоимостьПанели ограды 1-3П 200.60.5-М — это изделия забора, предназначенные для декоративного ограждения территорий любого назначения. Ограждения изготавливаются в соответствии с серией Б3.017.1-2.99.
