ПГ 36

Чертеж изделия:
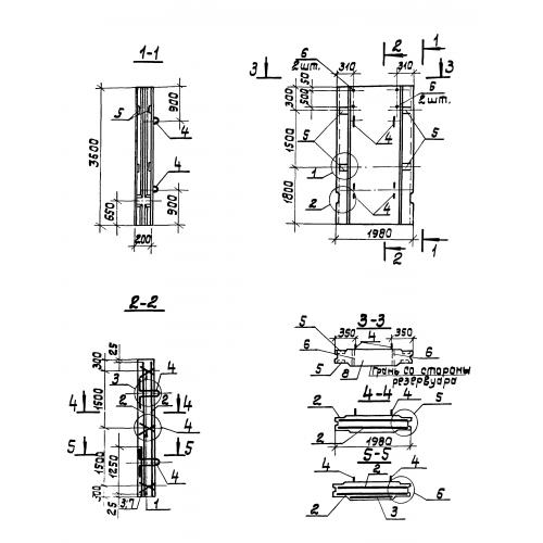
Характеристики изделия:
ПараметрЗначение
длина1980 мм
ширина200 мм
высота3600 мм
вес3350 кг
серия3.902.1-12

ПГ 36 Панели перегородочные по серии 3.902.1-12.