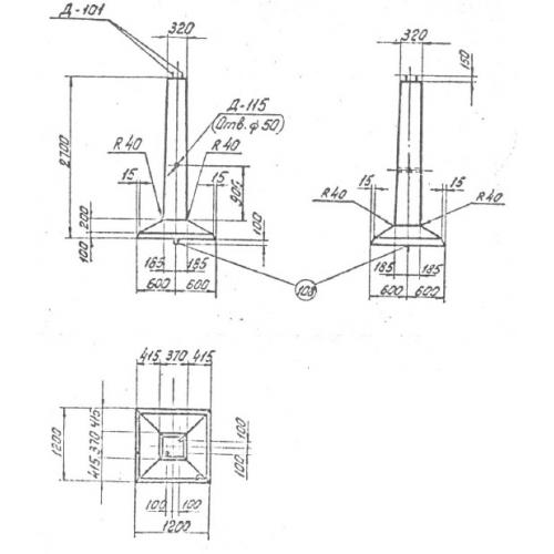
ФК 1 Фундаменты укороченные

Чертеж изделия:
Характеристики изделия:
ПараметрЗначение
длина1200 мм
ширина1200 мм
высота2200 мм
масса1350 кг
нормативный документСерия 3.407-115

ФК 1  Фундаменты укороченные Серия 3.407-115.