Л 20/2 лотки

Чертеж изделия:
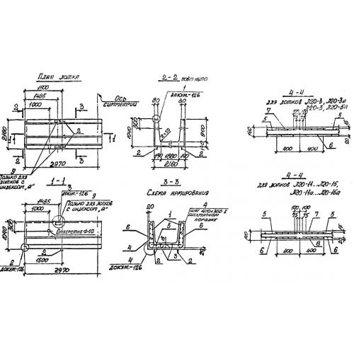
Характеристики изделия:
ПараметрЗначение
длина2970 мм
ширина2160 мм
высота1040 мм
масса3750 кг
нормативный документСерия 3.006.1-2/87

Л 20/2 Лотки теплотрасс Серия 3.006.1-2/87.