ПСД 9.30.20

Чертеж изделия:
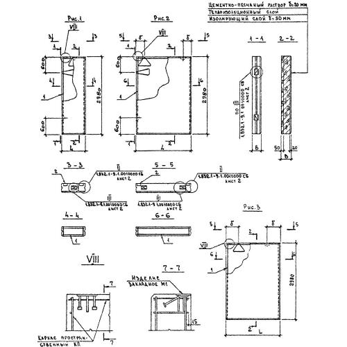
Характеристики изделия:
ПараметрЗначение
длина880 мм
ширина200 мм
высота2980 мм
вес880 кг
серия1.832.1-9

ПСД 9.30.20 Панели стеновые двухслойные по серии 1.832.1-9.