ПС 55.18.30
Характеристики изделия:
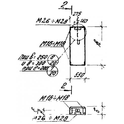
| Параметр | Значение |
|---|---|
| длина | 550 мм |
| ширина | 300 мм |
| высота | 1780 мм |
| вес | 400 кг |
| серия | 1.432-14/80 |
Цена:
Рассчитать стоимостьПС 55.18.30 Панели стеновые по серии 1.432-14/80.
| Параметр | Значение |
|---|---|
| длина | 550 мм |
| ширина | 300 мм |
| высота | 1780 мм |
| вес | 400 кг |
| серия | 1.432-14/80 |
ПС 55.18.30 Панели стеновые по серии 1.432-14/80.
