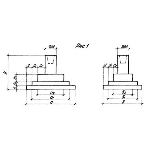
ФА 15

Чертеж изделия:
Характеристики изделия:
ПараметрЗначение
длина4800 мм
ширина4200 мм
высота1800 мм
вес31000 кг
серия1.412-3/79

ФА 15 Фундамент рядовой с подколонником типа "А" по серии 1.412-3/79.