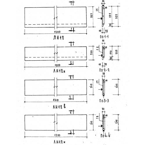
ЛН 12

Чертеж изделия:
Характеристики изделия:
ПараметрЗначение
длина1200 мм
ширина325 мм
высота35 мм
вес32,2
серия1.151-1

ЛН 12 Накладные лестничные проступи по серии 1.151-1.