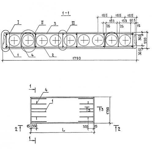
ПК 41.18 Плиты перекрытия железобетонные многопустотные

Чертеж изделия:
Характеристики изделия:
ПараметрЗначение
длина4060 мм
ширина1790 мм
высота220 мм
масса2225 кг
нормативный документСерия 1.141-1

ПК 41.18  Плиты перекрытия железобетонные многопустотные Серия 1.141-1.