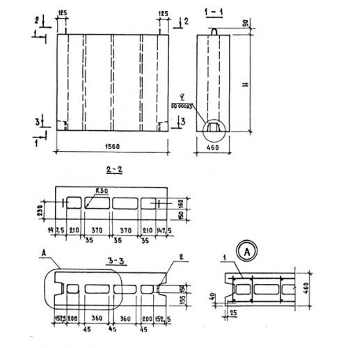
ВБХ 16.5.5 блоки вентиляционные

Чертеж изделия:
Характеристики изделия:
ПараметрЗначение
длина1560 мм
ширина460 мм
высота450 мм
масса310 кг
нормативный документСерия 1.134.1-12

ВБХ 16.5.5  Блоки вентиляционные холодного чердака Серия 1.134.1-12.