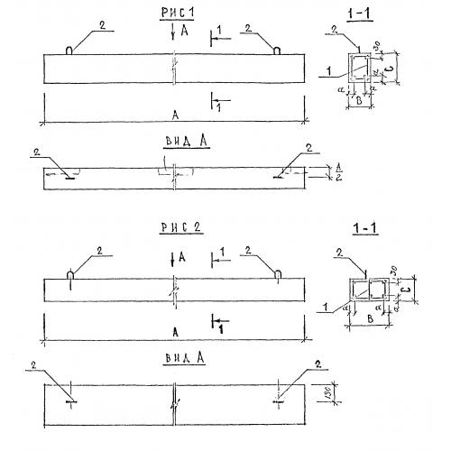
БСу 66.4

Чертеж изделия:
Характеристики изделия:
ПараметрЗначение
длина6600 мм
ширина180 мм
высота380 мм
вес1129 кг
серия1.126 КР-1

БСу 66.4 Сборные балки по серии 1.126 КР-1.