Б 13

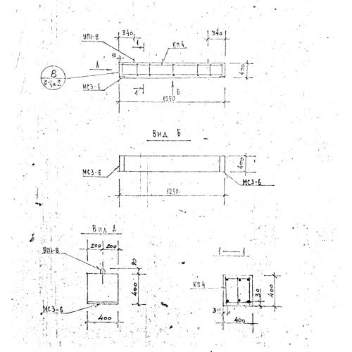
Чертеж изделия:
Характеристики изделия:
ПараметрЗначение
длина1250 мм
ширина400 мм
высота400 мм
вес500 кг
серия1.125 КЛ-3

Б 13 Балки по серии 1.125 КЛ-3.