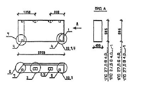
ПС 27.5.6.4.0 панели стеновые

Чертеж изделия:
Характеристики изделия:
ПараметрЗначение
длина2750 мм
ширина400 мм
высота585 мм
масса920 кг
нормативный документСерия 1.030.1-1/88

ПС 27.5.6.4.0  Панели стеновые Серия 1.030.1-1/88.