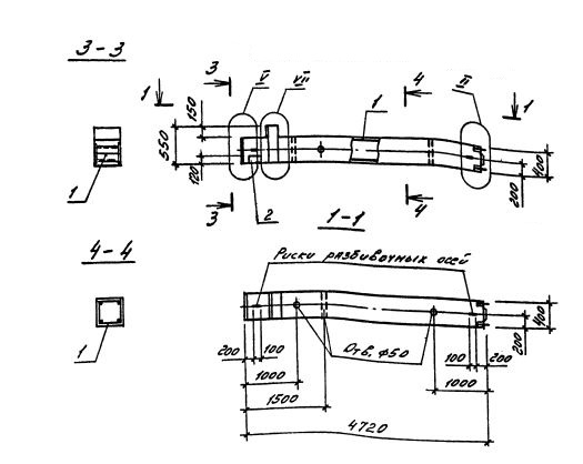
1КВО 54.00-3.22.00
Характеристики изделия:
| Параметр | Значение |
|---|---|
| длина | 4720 мм |
| ширина | 400 мм |
| высота | 550 мм |
| масса | 1900 кг |
| нормативный документ | Серия 1.020.1-4 |
Цена:
Рассчитать стоимость1КВО 54.00-3.22.00 Колонны одноконсольные для верхних этажей (Серия 1.020.1-4).