СЦ 26.3
Характеристики изделия:
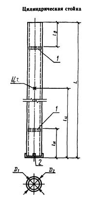
| Параметр | Значение |
|---|---|
| длина | 26400 мм |
| ширина | 560 мм |
| высота | 560 мм |
| масса | 6192 кг |
| нормативный документ | ГОСТ 22687.0-85 |
Цена:
Рассчитать стоимостьСЦ 26.3 Стойки цилиндрические ГОСТ 22687.0-85.
| Параметр | Значение |
|---|---|
| длина | 26400 мм |
| ширина | 560 мм |
| высота | 560 мм |
| масса | 6192 кг |
| нормативный документ | ГОСТ 22687.0-85 |
СЦ 26.3 Стойки цилиндрические ГОСТ 22687.0-85.