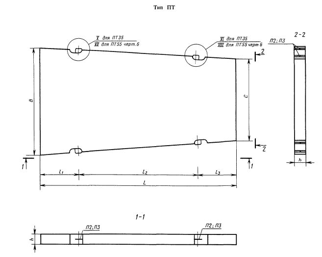
2ПТ 55-30AIV

Чертеж изделия:
Характеристики изделия:
ПараметрЗначение
длина5500 мм
ширина2000/1500 мм
высота140 мм
масса3350 кг
нормативный документГОСТ 21924.1-84

ГОСТ 21924.1-84 Плиты железобетонные предварительно напряженные для покрытий городских дорог

2ПТ 55-30AIV  Плиты дорожные трапецеидальные для постоянных дорог.